


電話:021-66075588
傳真:021-36213039
郵箱:shtlv6@163.com
地址:上海市寶山區(qū)市臺路388號

| 殼體材質 | 碳鋼 | 不銹鋼 |
| 濾芯材質 | 不銹鋼 | |
| 工作溫度(℃) |
-30~380 | -80~450 |
| 連接形式 | 法蘭連接、對焊連接、螺紋連接 | |
| 公稱壓力(MPa) | 0.6~5.0(150Lb~600Lb) | |
| 過濾精度(目/in) | 10~300 | |
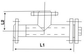
圖表一 
|
T型直角法蘭連接過濾器 |
|||
|
(ST-I)見表一、圖一,DN80-400,PN≤5.0 |
|||
|
公稱通徑 DN |
結構尺寸 |
管塞 |
|
|
L |
L |
||
|
80 |
300 |
150 |
R1/2〃 |
|
100 |
360 |
160 |
R1/2〃 |
|
150 |
440 |
200 |
R3/4〃 |
|
200 |
540 |
230 |
R3/4〃 |
|
250 |
600 |
270 |
M20×1.5 |
|
300 |
680 |
300 |
M20×1.5 |
|
350 |
750 |
340 |
M20×1.5 |
|
400 |
850 |
380 |
M20×1.5 |
圖表二
|
T型對焊連接式過濾器 |
||||
|
(ST-Ⅱ)見表二、圖二,DN50-400,PN≤10.0 |
||||
|
公稱通徑 DN |
Do |
L |
H |
管塞 |
|
50 |
57 |
128 |
175 |
R1/2〃 |
|
65 |
76 |
152 |
195 |
R1/2〃 |
|
80 |
89 |
172 |
210 |
R1/2〃 |
|
100 |
108 |
210 |
230 |
R1/2〃 |
|
125 |
133 |
248 |
310 |
R3/4〃 |
|
150 |
159 |
286 |
335 |
R3/4〃 |
|
200 |
219 |
356 |
400 |
R3/4〃 |
|
250 |
273 |
432 |
450 |
M20×1.5 |
|
300 |
325 |
508 |
535 |
M20×1.5 |
|
350 |
377 |
558 |
580 |
M20×1.5 |
|
400 |
426 |
610 |
640 |
M20×1.5 |
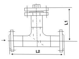
圖表三 
|
T型直通法蘭連接式過濾器 |
|||
|
(ST-Ⅲ)見表三、圖三,DN50-600,PN≤5.0 |
|||
|
公稱通徑 DN |
L1 |
L2 |
管塞 |
|
50 |
149 |
256 |
R1/2〃 |
|
65 |
170 |
292 |
R1/2〃 |
|
80 |
182 |
312 |
R3/8〃 |
|
100 |
210 |
362 |
R3/8〃 |
|
125 |
235 |
420 |
R3/8〃 |
|
150 |
260 |
464 |
R3/8〃 |
|
200 |
320 |
560 |
R3/4〃 |
|
250 |
380 |
670 |
M20×1.5 |
|
300 |
430 |
780 |
M20×1.5 |
|
350 |
450 |
30 |
M20×1.5 |
|
400 |
530 |
910 |
M20×1.5 |