


電話:021-66075588
傳真:021-36213039
郵箱:shtlv6@163.com
地址:上海市寶山區(qū)市臺路388號

一、直流式襯膠隔膜閥用途:
直流式襯膠隔膜閥專用于控制非腐蝕性或一般腐蝕性介質,閥體內腔表面無襯里或覆有可供選擇的各種橡膠,適用于不同工作溫度和流體管路。
適用溫度:≤85℃、≤100℃、 ≤120℃(按照襯里和隔膜材料)
壓力等級:PN0.6、1.0、1.6
二、直流式襯膠隔膜閥材料:
閥體:鑄鐵、球墨鑄鐵、碳鋼、不銹鋼
閥蓋:鑄鐵、球墨鑄鐵、碳鋼、不銹鋼
襯里:無襯里、橡膠
隔膜:橡膠
閥瓣:鑄鐵、碳鋼
閥桿:碳鋼、不銹鋼手輪:鑄鐵
三、測試:
襯里層:電火花檢測
試驗與檢驗按GB/T13297標準
公稱壓力:PN(Mpa)
閥體:PN×1.5
密封:PN×1.1
四、直流式襯膠隔膜閥結構特點:
隔膜閥是一種特殊形式的截止閥;
1、彈性密封的開閉件,確保沒有內漏;
2、流線型的流道,使得壓力損失?。?br />
3、沒有填料函,因此沒有外漏;
4、閥體與蓋被中間隔膜隔開,使得隔膜上方的閥蓋,閥桿零件不受介質侵蝕;
5、隔膜可更換,維護費用低;
6、襯里材料的多樣性,可適用于各種介質,并具有良好的耐腐蝕性。
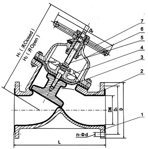
五、直流式襯膠隔膜閥主要尺寸及重量:
DN 公稱壓力 工作壓力 L D D1 n-φd F H1 H2 D0 質量 25 0.6 0.6 145 115 85 4-14 2 178 190 120 32 160 140 100 4-18 2 196 217 140 40 180 150 110 4-18 3 196 217 140 14 50 210 165 125 4-18 3 219 240 200 20 65 250 185 145 4-18 3 264 272 200 29 80 300 200 160 4-18 3 285 315 280 42 100 350 220 180 8-18 3 352 383 320 61 125 400 250 210 8-18 3 470 515 320 79.5 150 0.4 460 285 240 8-22 3 508 554 400 150 200 570 340 295 8-22 4 602 660 500 236.5 250 680 395 350 12-22 4 708 786 500 300 790 445 400 12-22 4
mm
MPa
MPa
(mm)
(mm)
(mm)
(mm)
(mm)
(mm)
(mm)
(mm)
-
-
-
.jpg)
產品特點:設計與制造:GB122239 結構長度:GB12221、JB1688 法蘭連接尺寸:GB4216、JB78 G45J直流式襯膠隔膜閥,直流式隔膜閥,襯膠隔膜閥.部件列表: 1、閥體 2、閥體襯里 3、隔膜 4、閥瓣 5、閥桿 6、閥蓋 7、手輪